一、限矩型液力偶合器功能:
(1)具有柔性傳動自動適應功能
(2)具有減緩沖擊和隔離扭振功能
(3)具有使電機輕載起動功能,并能夠利用電機的******力矩起動負載功能(提高電機的起動性能)
(4)協調多機傳動,均勻分布負載功能
(5)具有節電功能
(6)具有過載保護功能
(7)在特定條件下具有制動功能
工作機(減速機)←YOX320限矩型直連式液力偶合器←原動機(電機)
二、、限矩型液力偶合器特點:
除軸承、油封外,無任何機械磨擦,使用壽命長,故障率低,不需特殊維護保養。
三、限矩型液力偶合器用途:
YOX系列限矩型液力偶合器是一種應用廣泛的通用傳動元件,置于動力機與工作機之間傳遞扭矩。應用于礦山、石油、化工、冶金、輕工、水泥、制革、建筑、建材、陶瓷、郵電、交通、電力、食品、紡織、鑄造、游藝等部門和行業。
YOXE340限矩型易拆卸式液力偶合器
四、限矩型液力偶合器的分類及常規參數:
|
型式代號 |
限矩型液力偶合器 |
|||||||||
|
X |
||||||||||
|
結構特征代號 |
復 合 泄 液 式 |
雙 腔
|
制 動 輪 式
|
皮 帶 輪 式 |
易 拆 卸 式
|
延 長 后 輔 室 |
水 介 質 |
垂 直 式 安 裝 |
高 速 型
|
閉 鎖 離 合 器 式 |
|
F |
D |
Z |
R |
E |
Y |
S |
C |
G |
B |
|
五、限矩型液力偶合器使用與維護:
1、安裝與拆卸
(1)偶合器通常用鋁合金制造,不論安裝與拆卸都不允許用錘直接敲擊。安裝時應在工作機與動力機的軸上涂潤滑脂。有專用安裝及拆卸工具,如需要應訂貨時注明購買。
(2)直線連接的偶合器應注意檢驗并校正動力機軸與工作機軸的同軸度,有彈性聯軸節的偶合器,同軸度允差應低于0.3mm以下,偶合器規格越大,動力機轉速越高,同軸度允差值應越小。
(3)皮帶輪式偶合器通常懸臂安裝在動力機軸上,用拉緊螺栓固定,拉緊螺栓應與動力機轉向相反。
(4)本廠設計的偶合器均帶有拆卸螺孔,拆卸時用特制的螺桿將偶合器從動力機軸上頂下來。 ?2、充液與檢查
(1)偶合器充液量范圍為總容積50%~80%。
(2)偶合器一般采用油介質。工作液推薦使用:液壓油、液力傳動油、冷凍機油、馬達油、機械油。煤礦井下應用偶合器采用清水及難燃液為介質。
3、安全保護裝置
(1)易熔塞是偶合器的過熱保護裝置,******不可用其它螺塞替代使用。易熔塞可有效保護偶合器不過熱,但工作介質噴出可造成污染和不便,用戶特殊要求,可采用兩種不噴液溫控開關(非接觸式無線聲光報警裝置,撥桿推動行程開關裝置)。
(2)易爆塞主要用于水介質和難燃液介質偶合器
4、注意事項
(1)偶合器輸出轉向與動力機轉向一致,動力機可正反轉,但應避免急劇正反轉換向。
(2)定期檢查工作介質的品質及彈性塊的摩損的情況,及時更換。
(3)非專業人員不許隨意拆裝偶合器,以免破密封及平衡精度。
(4)偶合器充液量***多不許超過總容積的80%。
六、訂貨須知:
(1)訂貨時應注明產品型號規格,動力機與工作機種類及轉向、轉速、功率、軸徑、軸伸及鍵的相關尺寸、皮帶輪的直徑、槽型、槽數、制動輪的直徑大小尺寸、垂直安裝的偶合器應注明是坐立式還是吊立式。
(2)技術參數表為我廠常規設計參數,詳細資料及特殊型式的尺寸參數,請來電來函咨詢與協商。
YOXz360限矩型制動輪式液力偶合器
YOX340限矩型液力偶合器
YOXR320限矩型皮帶輪式液力偶合器
液力偶合器工作原理
一、限矩型液力偶合器工作原理
限矩型液力偶合器是采用某種措施在低轉速比時限制力矩升高的液力偶合器。限矩型液力偶合器是以液體為介質傳遞功率的一種液力傳動裝置,屬于柔性傳動。當電動機、內燃機等原動機帶動連著泵輪的輸入軸轉動時,泵輪內的工作油在葉片的帶動下因離心力的作用,由泵輪內側(進口)流向外緣(出口),形成高速高壓油沖向渦輪葉片,使渦輪跟著泵輪作同向旋轉,油在渦輪中由外緣(進口)流向內側(出口)的流動過程中減壓減速,然后再流入泵輪進口,如此往復循環不已,在油的這種循環流動中,泵輪將由原動機輸入的機械功轉換為油的動能和勢能,而渦輪則將油的動能和勢能轉換為輸出的機械功,從而實現由主動軸到從動軸的動力傳遞,這是液力偶合器的基本工作原理。因限矩型液力偶合器有輔助室,使得起動力矩穩步上升。
我公司供應限矩型液力偶合器,我公司常年生產各種型號及扭矩要求的限矩型液力偶合器,公司技術力量雄厚,設計理念先進,制造設備精良,產品檢驗嚴格;我公司生產的限矩型液力偶合器價格合理,質量可靠,性能穩定。多年來各種型號及扭矩的限矩型液力偶合器自投放市場以來深受各地用戶信賴!我們生產的限矩型液力偶合器適合應用于需要解決啟動困難、過載保護、減緩沖擊及扭振和協調多動力機均衡驅動及柔性制動的工作機的傳動,可廣泛應用于起重運輸機械,礦山機械,建筑機械,冶金機械,化工機械,紡織機械、塑料機械、玻璃機械、陶瓷機械、鑄造機械、造紙機械等。我公司生產的限矩型液力偶合器價格合理,質量可靠,性能穩定。歡迎各地新老客戶光臨惠顧!
限矩型液力偶合器的特點:
(1)限矩型液力偶合器能夠提高電機的起動性能,降低起動電流、縮短起動時間;
(2)限矩型液力偶合器具有過載保護功能,當負荷過載時能保護電機不會因悶車而燒毀;
(3)限矩型液力偶合器可以顯著降低原動機的裝機容量,能充分利用原動機的******扭矩來起動大慣量工作機;
(4)限矩型液力偶合器可隔離扭振,減少沖擊和振動,有效防止機械磨損,延長設備使用壽命;
(5)在多機驅動系統中,限矩型液力偶合器能自動調節各原動機的負荷均勻分配;
(6)限矩型液力偶合器的結構簡單、可靠,無機械磨損,無需特殊維護。
限矩型液力偶合器的應用:
限矩型液力偶合器用途廣泛,用于一切需要解決啟動困難、過載保護、減緩沖擊及扭振和協調多動力機均衡驅動及柔性制動的工作機上。
(1)限矩型液力偶合器可應用于起重運輸機械:如刮板、皮帶、門式橋式起重機、各種提升機、鏈式輸送機等的動力傳動;
(2)限矩型液力偶合器可應用于礦山機械:如破碎機、球磨機、斗輪挖掘機、刨煤機、礦用卷揚機等;
(3)限矩型液力偶合器可應用于建筑機械:如塔式起重機、攪拌機、石材切割機、壓路機、磨機、磚機等;
(4)限矩型液力偶合器可應用于冶金機械如:擠壓機、軋鋼機、矯直機、冷拔機、煉焦爐推焦機、風機、泵等;
(5)限矩型液力偶合器可應用于化工機械如:捏合機、混合機、混合攪拌機、離心機、干燥機、煉膠機等;
(6)限矩型液力偶合器可應用于其他機械如:紡織機械、塑料機械、玻璃機械、陶瓷機械、鑄造機械、造紙機械等。
二、調速液力偶合器工作原理
調速型液力偶合器,調速型液力偶合器專業制造商大連嘉益液力偶合器有限公司是集液力偶合器研發、生產、銷售、服務于一體的液力偶合器大型專業生產廠家,是中國液力機械協會會員單位,常年生產供應各種型號調速型液力偶合器。我公司生產的調速型液力偶合器被列為機械工業部第十八批節能機電產品,是中國水泥協會向本行業推薦的首批節能型機電產品,我公司生產的液力偶合器價格合理,質量可靠,性能穩定,可廣泛應用于冶金機械,化工機械,紡織機械,塑料機械,起重運輸機械,礦山機械,陶瓷機械,鑄造機械,建筑機械,玻璃機械,造紙機械等。歡迎各地新老客戶光臨惠顧!
YOT系列調速型液力偶合器是以液體為介質傳遞功率并實現無級調速的液體聯軸裝置。調速型液力偶合器主要用于各種風機和水泵等設備上,經國內外用戶使用普遍反映節能效果顯著。調速型液力偶合器與其它機械聯軸裝置相比具有以下特點:
1、調速型液力偶合器可以在原動機轉速不變的情況下連續無級調節被驅動機械的轉速,當與離心式風機、水泵相配時,其調速范圍為1~1/4,當與活塞式機械相配時,其調速范圍為1~1/3;
2、調速型液力偶合器能使電機空載啟動,不必選擇過大功率余量能力的電動機等原動機,并且可以減少電網負荷的波動;
3、調速型液力偶合器具有過載保護的性能;
4、隔離振動,減緩沖擊;
5、調速型液力偶合器的傳動部件間無直接機械接觸、使用壽命長;
6、調速型液力偶合器在額定負載下有較高的傳動效率;
7、調速型液力偶合器具有液力控制調速裝置和兩個半軸,易于實現遠距離自動操作;
調速型液力偶合器具有結構合理,性能先進,可靠性高,能滿足冶金、建材、發電等行業長期連續運轉工況要求。
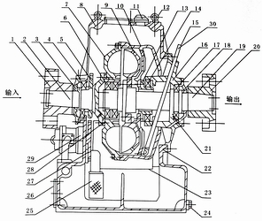
主要結構簡介
調速型液力偶合器結構參看(圖1)
調速型液力偶合器主要由轉子部件、箱體部件、油泵部件、調速機構、管系及控制儀表組成。
1、調速型液力偶合器的轉子部件:
1)YOT系列調速液力偶合器轉子部件的主動部分主要是由輸入半聯軸器(1)輸入軸(2)轉動外殼(10)及支承盤(13)組成,并有滾動軸承(4)和軸承(14)支承在箱體上。
2)轉子部件的從動部分主要是由渦輪(9)輸出軸(19)及輸出半聯軸器(20)組成,并由軸承(6)和軸承(17)支承在箱體和泵輪上。
泵輪(7)渦輪(9)轉動外殼(10)均采用高強度鋁合金鑄造而成,材料具有足夠的抗拉強度,保證偶合器有足夠的工作可靠性,轉子部件經過高精度的動、靜平衡校驗,確保工作平穩。
2、調速型液力偶合器的箱體部件:
調速型液力偶合器的箱體部件主要有箱體(22)箱蓋(8)及軸承座(16)組成,箱體為水平部分式。這可使偶合器檢修方便,在不移動電機和被驅動機械的情況下就可以把轉子部件吊出,由于箱體固定不動也就不會破壞裝置的對中狀況。箱體、箱蓋及軸承座均為高強度鑄鐵制成,箱體底殼兼作油箱,故箱體下部較大,使整個裝置穩定性及剛性提高。箱體的一側有注油口和油位觀察孔(參看圖5),以供注油和觀察油位之用,在箱體兩端下部有放油螺塞(24)以供清洗油箱放油之用。
3、調速型液力偶合器的油泵部件:(參看下圖)
調速型液力偶合器的油泵部件主要是為偶合器提供工作油和潤滑油的裝置。油泵(29)裝在輸入端入箱體上,借助花鍵與傳動齒輪相聯,從外部擰下緊固螺栓即可很方便的拆換油泵,調壓閥裝在油泵的端蓋上,只要擰下防護帽松開防松螺母就可調節調壓螺桿實現壓力調整,順時針旋轉油壓增高,逆時針旋轉油壓降低,油壓調定后擰緊防松螺母。
4、調速型液力偶合器的調速機構部件
調速型液力偶合器的調速機構部件主要由電動執行器(30)及導流管(15)組成,通過電動執行器可以方便的實現手動,機旁電動,操作室電動,也可與自控系統連接,實現無級自動調速,當導流管外移時為高速,內移時為低速。
5、調速型液力偶合器的管系及控制儀表(參看圖5)
在管路系統中,工作油經油泵經濾油器過濾后至冷卻器,冷卻后的工作油進入偶合器進油口。
在油路系統中,裝有油泵出口壓力表和溫度表,調速型液力偶合器的進口(冷卻之后)壓力表和溫度表,以指示冷卻器前后的油溫和油壓,壓力表為遠傳壓力表,油溫表為電接點式。
調速型液力偶合器的工作原理
YOT系列調速液力偶合器是以液體為介質傳遞動力并實現無級調速的液力傳動裝置,液力偶合器主要由與輸入軸相聯的泵輪,與輸出軸聯接的渦輪以及把渦輪包容在其中的轉動外殼組成。在調速型液力偶合器密封的空腔中充滿工作油,泵輪和渦輪對稱布置,它們的流道幾何形狀相同。工作輪葉片為經向布置的直葉片,當原動機驅動泵輪旋轉時,工作油在泵輪葉片的作用下由葉片內側向外緣流動,形成離心水泵出口處的高速高壓液流,該液流進入渦輪,沖擊渦輪葉片,帶動渦輪與泵輪同向旋轉,工作油在渦輪中由外緣向內側流動過程中減速減壓,然后再流回泵輪進口,這里傳遞能量的介質是工作油,泵輪的作用就是把原動機的機械能傳給被驅動機械。(圖3)所示為偶合器中流體流動情況示意圖。
改變液力偶合器工作腔中工作油的充滿度就可在輸入軸轉速不變的情況下無級地改變輸出軸的轉速,調速原理如(圖4)所示。當導流管管口處于靠近旋轉軸線位置時(即把導流管拉出)偶合器工作腔中的油環***厚,即工作腔中工作油充滿度******,此時輸出軸轉速******,當導流管管口處于遠離旋轉軸線位置時(即把導流管插進),油環***薄。即工作腔中工作油充滿度***小,此時輸出軸轉速******。本系列偶合器是采用電動執行器作為執行元件來拉動導流管實現無級調速的。
YOT系列調速液力偶合器中液體流動情況示意圖
YOT系列調速液力偶合器液力調速原理圖

